Aktuelle Informationen! (05 Feb. 2026)
Auf der Retro Classics Essen 2026, 8. bis 12. April 2026 ist der Citroen SM Club Deutschland Teil der Citroen Straße.
Nächstes Mitgliedertreffen vom 24. bis 26. April 2026 im Hotel Restaurant Sachsenross, Ob. Dorfstraße 32, 37176 Nörten-Hardenberg bei Göttingen.
Neue Ersatzteile
• Stehbolzen neu für Verbindung Zylinderkopf / Motorblock bei Motorrevision
• Leistungsschalter / Selbstheilende Sicherungen / silberne Kästen zwischen den grünen Relais
Höhenverstellung
- Iolo
-
Autor
- Offline
- Elite Mitglied
-
- Beiträge: 256
Re: Höhenverstellung
22 Apr. 2017 17:44 - 22 Apr. 2017 17:46
Hallo Andreas,
besten Dank für deine ausführliche Antwort.
Man sieht auch fast gar nix, da einer der Vorbesitzer den ganzen Bereich hinter dem Abdeckblech inkl. aller Leitungen und dem Korrektor Millimeter dick mit 'nem braunen Korrosionsschutzfett eingekleistert hat. Was für eine Sauerei
Die Querschraube ist noch vor Ort und auch angezogen. Müssen wohl die Plastikbuchsen sein.
In der Normalstellung hat das Gestänge ja eh werkseitig Spiel am Korrektorhebel.
Die Höhe auf Normniveau hat sich also problemlos einstellen lassen. Alle anderen Hebelstellungen funktionieren auch.
Seltsam.
Die Buchsen werd ich dann nach der Saison tauschen, da muss das Getriebe eh wegen verschlissener Synchroringe raus, dann gibt's ordentlich Platz zum arbeiten.
Beim Tausch den Höhenkorrektors vorne habe ich übrigens einen entscheidenden Fehler gemacht, der mich ganz schön Nerven gekostet hat.
War wohl ein typischer Anfängerfehler, mach das ja zum ersten Mal.
Ihr dürft jetzt alle raten welcher Fehler das war. :lol:
Gruß
Immanuel
besten Dank für deine ausführliche Antwort.
Man sieht auch fast gar nix, da einer der Vorbesitzer den ganzen Bereich hinter dem Abdeckblech inkl. aller Leitungen und dem Korrektor Millimeter dick mit 'nem braunen Korrosionsschutzfett eingekleistert hat. Was für eine Sauerei
Die Querschraube ist noch vor Ort und auch angezogen. Müssen wohl die Plastikbuchsen sein.
In der Normalstellung hat das Gestänge ja eh werkseitig Spiel am Korrektorhebel.
Die Höhe auf Normniveau hat sich also problemlos einstellen lassen. Alle anderen Hebelstellungen funktionieren auch.
Seltsam.
Die Buchsen werd ich dann nach der Saison tauschen, da muss das Getriebe eh wegen verschlissener Synchroringe raus, dann gibt's ordentlich Platz zum arbeiten.
Beim Tausch den Höhenkorrektors vorne habe ich übrigens einen entscheidenden Fehler gemacht, der mich ganz schön Nerven gekostet hat.
War wohl ein typischer Anfängerfehler, mach das ja zum ersten Mal.
Ihr dürft jetzt alle raten welcher Fehler das war. :lol:
Gruß
Immanuel
Letzte Änderung: 22 Apr. 2017 17:46 von Iolo.
Bitte Anmelden oder Registrieren um der Konversation beizutreten.
- Andy
-
- Offline
- Platinum Mitglied
-
- Beiträge: 12872
Re: Höhenverstellung
22 Apr. 2017 08:12 - 22 Apr. 2017 08:12
Darf nicht. Ist aber leider oft so, natürlicher mechanischer Verschleiß. Da sind die Plastebuchsen im Rahmen ausgeschlagen durch Dreck und Hitze und dauernde Federbelastung der Gestänge. Und Du musst gucken, ob die Querschraube des Hebels auch drin und mit Mutter und angezogen ist. Siehe Teilebuch. Spiel in dem Gestänge bedingt, dass Du überhaupt keine präzise Höhe erreichen kannst.
Die Kunststoffbuchsen sind meiner Erinnerung nach schwierig zu bekommen, such Dir mal die Nr raus und dann such bei den einschlägigen Händlern, ist meiner Erinnerung nach DS kompatibel. Notfalls Muster zum Dreher geben, solls in Nylon nachdrehen.
Was erschwerend hinzukommt: Um den durch den Rahmen durchgehenden Hebel zu zerlegen und auszubauen, damit man die Buchsen in den Rahmen bekommt (eine außen, eine innen) meine ich mich zu erinnern, dass man irgend was Großes im Motorraum ausbauen muss. Bremse? Getriebe? ich weiß nimmer, aber ich wünsche viel Erfolg. Und es macht nur Sinn, BEIDE Buchsen zu erneuern.
Andreas
Die Kunststoffbuchsen sind meiner Erinnerung nach schwierig zu bekommen, such Dir mal die Nr raus und dann such bei den einschlägigen Händlern, ist meiner Erinnerung nach DS kompatibel. Notfalls Muster zum Dreher geben, solls in Nylon nachdrehen.
Was erschwerend hinzukommt: Um den durch den Rahmen durchgehenden Hebel zu zerlegen und auszubauen, damit man die Buchsen in den Rahmen bekommt (eine außen, eine innen) meine ich mich zu erinnern, dass man irgend was Großes im Motorraum ausbauen muss. Bremse? Getriebe? ich weiß nimmer, aber ich wünsche viel Erfolg. Und es macht nur Sinn, BEIDE Buchsen zu erneuern.
Andreas
Letzte Änderung: 22 Apr. 2017 08:12 von Andy.
Bitte Anmelden oder Registrieren um der Konversation beizutreten.
- Iolo
-
Autor
- Offline
- Elite Mitglied
-
- Beiträge: 256
Höhenverstellung
21 Apr. 2017 20:38 - 21 Apr. 2017 20:41
Hallo,
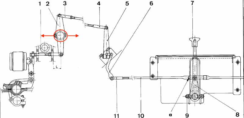
nach dem Tausch des vorderen Höhenkorrektor versuche ich gerade die die Höhe neu einzustellen.
Dabei habe ich festgestellt, dass an der vorderen Umlenkung (siehe Bild) der Verstellstangen mächtig viel Spiel an der Achse ist.
Den äußeren unteren Hebelarm kann man mehrere mm hin- und herbewegen.
Darf das so?
Wenn nein, gibt's dafür eine Lösung?
Gruß
Immanuel
nach dem Tausch des vorderen Höhenkorrektor versuche ich gerade die die Höhe neu einzustellen.
Dabei habe ich festgestellt, dass an der vorderen Umlenkung (siehe Bild) der Verstellstangen mächtig viel Spiel an der Achse ist.
Den äußeren unteren Hebelarm kann man mehrere mm hin- und herbewegen.
Darf das so?
Wenn nein, gibt's dafür eine Lösung?
Gruß
Immanuel
Letzte Änderung: 21 Apr. 2017 20:41 von Iolo.
Bitte Anmelden oder Registrieren um der Konversation beizutreten.